SECTION C
      Factors From Finite Areas to Finite Areas


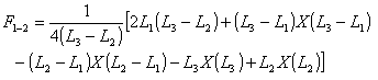
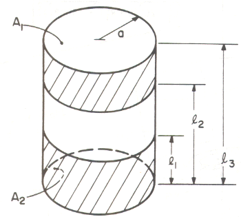
      C-87: Finite section of right circular cylinder to separated finite section.

       

        Reference: Buschman and Pittman

        Definitions:

        L = l/a
        X(L) = (L2 + 4)1/2

        Governing Equation:

       

        To download a copy of this equation in MS Word 97 Format, click HERE.