SECTION C
      Factors From Finite Areas to Finite Areas


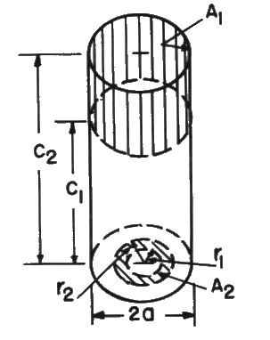
      C-85: Inner surface of upper cylinder to base ring.

         

        Reference: Buschman and Pittman

        Definitions:
         
        C1 = c1/a; C2 = c2/a
        R1 = r1/a; R2 = r2/a

        Governing Equation:

        To download a copy of this equation in MS Word 97 Format, click HERE.