SECTION B
Factors From Differential Elements to Finite Areas
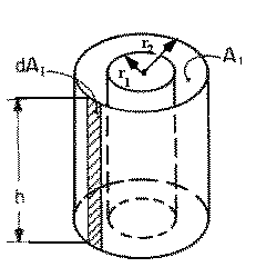
B-88: Strip on interior of outer cylinder to entire interior of outer right circular coaxial cylinder.
Reference: Hamilton and Morgan, 1952; Leuenberger and Person, 1956
Definitions: R=r1/h; R2 = r2/r1
Governing equation:
To download a copy of this equation in MS Word 97 Format, click HERE.